Качество
Надежность
Современные технологии
для внутренней канализации
Модернизированная система труб для внутренней канализации от фирмы Ostendorf. Она удовлетворяет всем требованиям современных систем внутренней канализации, начиная от звукоизоляции и противопожарной защиты, вплоть до упрощенной прокладки труб благодаря сантиметровой маркировке. При этом сохранены все важные свойства материалов, такие как химическая стойкость, трудновоспламеняемость, стойкость к воздействию горячей воды. Так возникла высококачественная система труб для внутренней канализации, в высшей мере соответствующая всем требованиям.
Материал: Полипропилен (PP)
Цвет: Серая пыль RAL 7037, не содержит галогенов и кадмия.
Уплотнения: Запатентованное тройное SBR (NBR)
Химическая стойкость: Применяется для агрессивных сред в диапазоне от pH 2 до pH 12
Торговое наименование: Ostendorf HT
Выдерживаемое давление системы: 0,5 Атм.
Выдерживаемая температура стоков: 90 градусов
Область применения: Хоз бытовая канализация, внутри здания.
Степень звукоизоляции: II степень звукоизоляции – 26 Дб
Срок службы: более 50 лет.
Структура трубы: Сплошная стенка
Маркировка:
Трубы и фитинги
Долговечная маркировка с обозначением производителя, условного диаметра, стандарта (DIN EN 1451-1), даты изготовления (на фитингах дополнительно указываются углы наклона), на трубах нанесена сантиметровая линейка.
Уплотнительные кольца
Фирменный знак производителя уплотнения, условный диаметр, обозначение стандарта (DIN EN 681), дата изготовления, номер пресс-формы и ее гнезда.
Соединение: Соединение осуществляется вставкой гладкого конца трубы в раструб с установленным на заводе, запатентованным уплотнительным кольцом.
Требования к качеству: изготавливается по DIN EN 1451-1 и DIN 19560-10
Условные диаметры: 32, 40, 50, 75, 90, 110, 125, 160мм.
Сопутствующая документация:
a) Инструкция по прокладке труб, KRV e.V., Бонн
б) Перечень механических и термических характеристик
Инструкция по монтажу
| Характеристика Feature |
Единица измерения Unit |
Значение Value |
|
| Плотность Mass density |
г/см3 | g/сm3 | 0.95 |
| Ударная вязкость Impact strength width notch |
кДж/м3 | кJ/m3 | 6.86 |
| Максимальное напряжение при изгибе Proof stress at bands |
Н/мм2 | N/mm2 | 43.14 |
| Прочность на разрыв Tensile at break |
Н/мм2 | N/mm2 | 39.22 |
| Деформация при разрыве Strain-to-failure |
% | % | 800 |
| Коэффициент эластичности Coefficient elasticity |
Н/мм2 | N/mm2 | 1275 |
| Точка размягчения Softening point |
оС | оС | 158-164 |
| Коэффициент линейного расширения Linear expansion coefficient |
оС-1 | оС-1 | 1.2*10-4 |

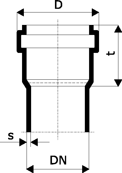
| DN | s (мм) | D (мм) | t (мм) |
| 32 | 1,8 | 44 | 40 |
| 40 | 1,8 | 53 | 55 |
| 50 | 1,8 | 63 | 56 |
| 75 | 1,9 | 88 | 61 |
| 90 | 2,2 | 105 | 58 |
| 110 | 2,7 | 125 | 76 |
| 125 | 3,1 | 143 | 82 |
| 160 | 3,9 | 181 | 90 |